K6ODV Six Meter KW Amplifier Designs

Ed Diyorio DM13gw

K6ODV QSL

Ed produced dozens of Six meter KWs for the guys all over the country.

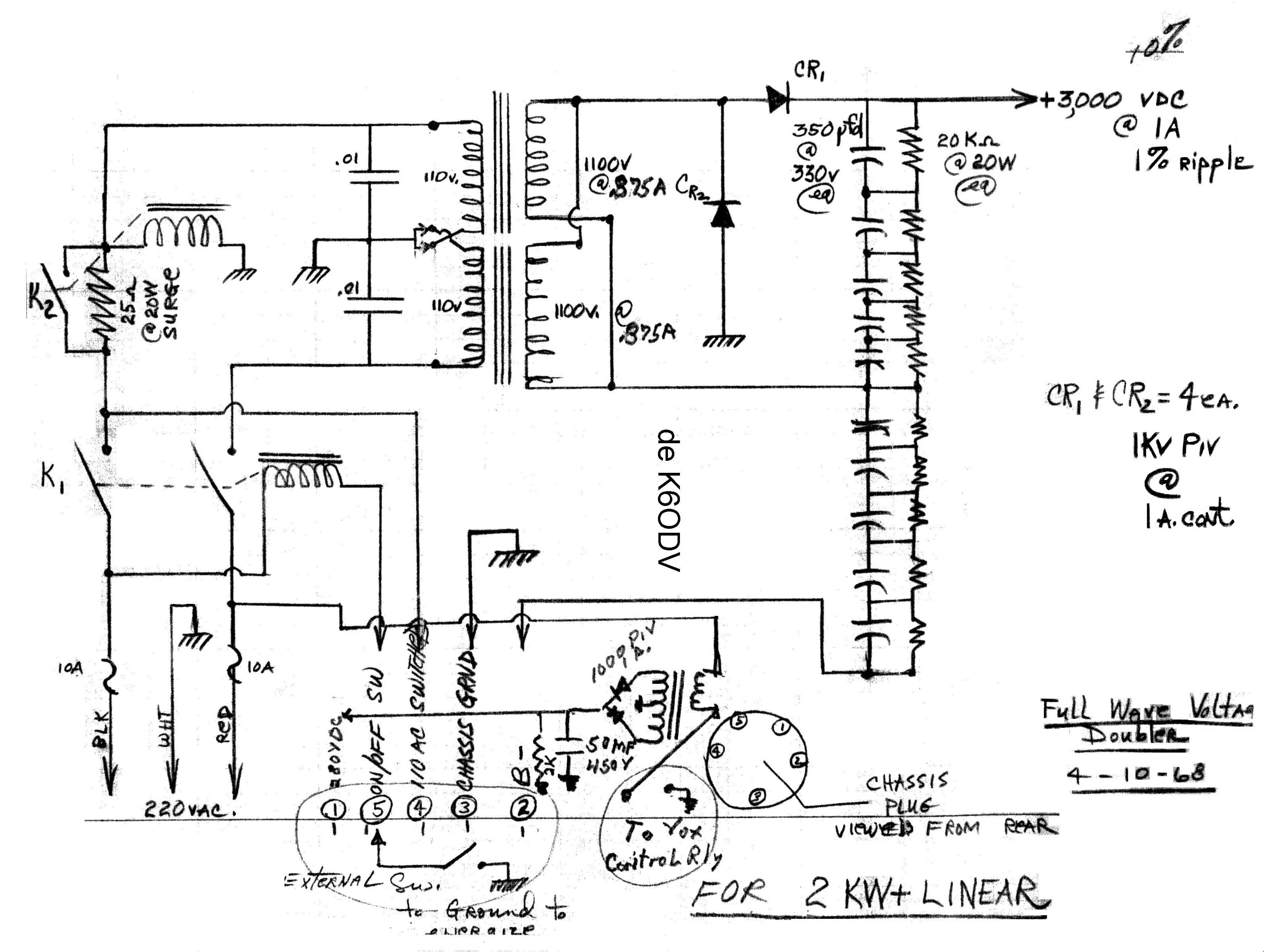
Here's the TL922 pics from his modifications:

          

Below are many of the notes provided by Ed.

      

        

      

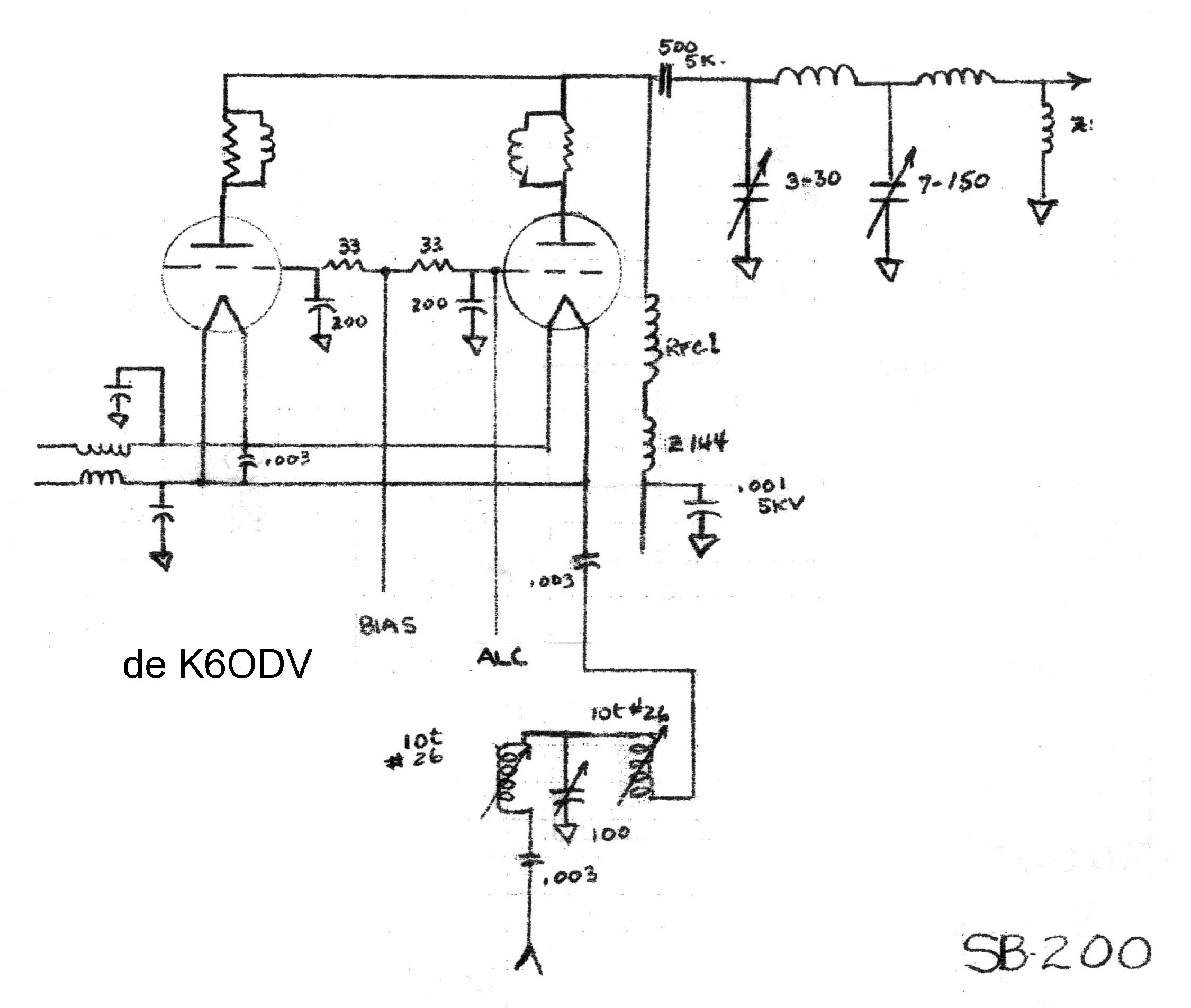
SB220 amp for six meters:

Modification_Procedures.doc

SB200_6_Meters.doc